Mantrap Security Entrance

Client Project - Pleasant Hill, CA
Sequoia Construction Services

Submitted to:
Sequoia Construction Services
Client Project – Coin & Jewelry Exchange
Pleasant Hill, CA

Submitted by:
www.TURNSTILES.us, Inc.
February 2026

www.TURNSTILES.us is a professional organization dealing with the physical and electronic securing of building entrances with Mantraps, Turnstiles, Gates, EntraPASS Access Control Hardware, and Software since 1989. We are a U.S. Federal Government Contract Holder (47QSMS25D00B6) and are registered with the U.S. Federal Government System for Award Management (#181428611).

TURNSTILES.us is glad to work with you and provide you with our Mantrap Security Entrance. Please find photos and project information below.

Location Photos

External ADA Mantrap Security Entrance

Proposal #2026-52082 – Man-Trap Security Cubicle

 *EQUIPMENT

  • Custom-made ADA Mantrap Single Automatic Cubicle
  • Dimensions Approx: 5’8″ wide x 7’8″ deep
  • Complete with electric locks and push bar
  • CBL07S: High-security bank locking controller with status control panel and presence sensors (single cubicle)
  • Both doors to open outwards  *to be confirmed*
  • Powder-coated finish *color to be confirmed*

SERVICES

  • Equipment Detail and Dimensions
  • Equipment Location Detail Schematics
  • On-site Programming
  • Installation and Travel (2) Installers
  • Crating, Shipping, Insurance

Concept Illustrations

AutoCAD Equipment Location Detail

Featured Equipment

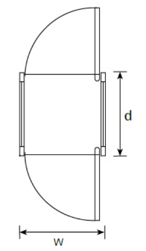
Single Mantrap - Plan View w/ Doors Opening Outward
Rated 5 out of 5

TURNSTILES.us Advantage

We are a One Stop Shop

  • Decades of Experience & Pride in Craftsmanship
  • We provide Turn-Key Service with Value-Added Engineering
  • We provide Access Control Elements integrated with the Turnstiles
  • U.S. Federal Government GSA Contract Holder
Dreyer's Ice Cream - Bakersfield, CA
Atlantis Casino - Reno, NV
Midsouth Mechanical - LaGrange, PA
King's Hawaiian - Flowery Branch, GA
Call Now Button